Перейти к содержимому
+7 (812) 603-40-43 office@privodspb.ru 198095, г. Санкт-Петербург, ул. Промышленная, д.21, стр. 1, оф.101-С

Исполнительный механизм

Для управляющих аэродинамических поверхностей

Исполнительный механизм для управляющих аэродинамических поверхностей
Исполнительный механизм (ИМ) представляет собой линейный актюатор, в основе которого лежит шарико-винтовая передача (ШВП) с приводом от электродвигателя с постоянными магнитами (ДПМ). Обратная связь по положению осуществляется с использованием датчика линейных перемещений (ЛДП) (дифференциальный трансформатор для измерения линейных перемещений - LVDT).

Технические характеристики

Наименование параметра
Значение
Максимальное перемещение выходного штока
30 мм
Номинальное усилие на штоке при скорости перемещения штока 30 мм/с
900 Н
Скорость перемещения штока при отсутствии нагрузки
60 мм/с
Масса в полной комплектации
0,760 кг
Максимальная потребляемая мощность
60 Вт

Структурная схема ИМ

Структурная схема ИМ

Для повышения надежности ДПМ выполнен с двумя равнозначными комплектами обмоток, управляемыми от независимых инверторов. Возможна установка электромеханического тормоза (ЭТ). Конструктивно все составные части актюатора реализованы в едином корпусе.

Структурная схема ИМ

Опционально доступны следующие исполнения актюатора

  • С установленными концевыми датчиками (без LVDT)
  • С установленными датчиками Холла (без резольвера)
  • Без использования электромеханического тормоза
  • С интерфейсом RS485 или CAN (ARINC825)

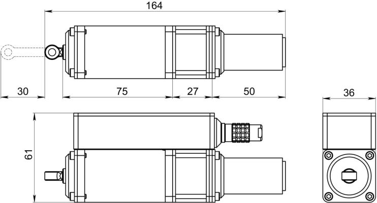
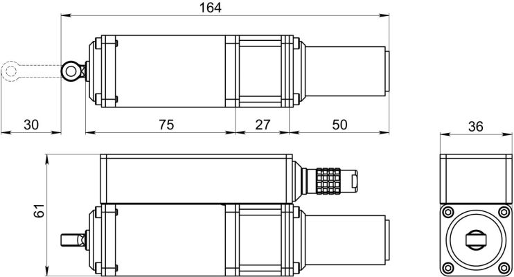
Основные размеры ИМ

Основные размеры ИМ

Появились вопросы?

Политика конфиденциальности *
Я прочитал(а) политику конфиденциальности и согласен(на) с условиями безопасности и обработки персональных данных